任天堂确认 Switch 2 游戏机不兼容 Labo VR 纸板头显配件
本站 4 月 6 日消息,外媒Roadtovr联系任天堂,确认任天堂在2019年推出的 Labo VR纸板头显配件不兼容Switch 2游戏机。

据悉,由于Switch 2游戏机尺寸相对于初代Switch有所调整,因此无法装入 Labo VR纸板头显配件,不过这可以通过魔改 / 重新开模自制相应头显配件来解决。
但目前尚不知悉任天堂是否会对 Labo VR 配套的游戏进行限制,例如使其直接无法在Switch 2平台上运行,考虑到任天堂已宣布“Labo VR配件不支持Switch 2”,因此该公司很有可能在相应游戏机上施以限制,具体还需实机到手专门进行测试。
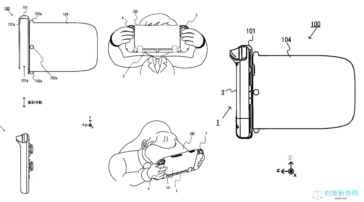
本站同时注意到,任天堂在2024年公开的一项专利显示该公司很有可能推出第二代 Labo VR纸板头显,这意味着Switch 2不兼容现款 Labo VR纸板头显的原因可能是“任天堂计划推出新的VR头显配件”。

任天堂 Switch 2 直面会专题
文章版权声明:除非注明,否则均为
刻度新游网
原创文章,转载或复制请以超链接形式并注明出处。

还没有评论,来说两句吧...