苹果 MacBook 磁吸系统 2.0 专利曝光:防干扰 + 强吸附,比 MagSafe 更智能
本站 4 月 4 日消息,科技媒体 patentlyapple 昨日(4 月 3 日)发布博文,报道称苹果公司获批一项新专利,涉及在 MacBook 屏幕盖板中引入新型磁性系统,一方面提升结构强度,另一方面解决现有磁吸设计可能干扰周边设备(如信用卡)的问题。
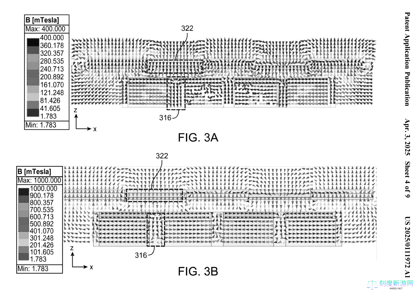
苹果在专利背景中指出,当前 MacBook 采用永磁体实现屏幕闭合锁定,但开启使用时仍会持续释放磁场。例如,为保障吸合强度设计的强磁体,可能对近距离放置的信用卡等物品造成磁化损坏,这一问题在笔记本电脑长时间开启办公场景中尤为突出。

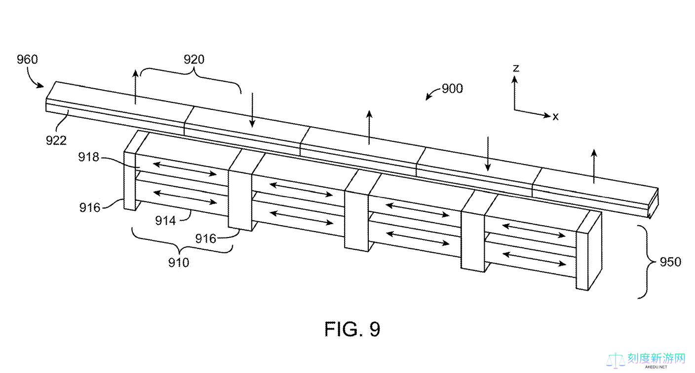
新专利的核心是组合“电永磁体阵列”(EPM array)与固定磁体阵列。EPMs 仅需瞬时电流即可切换磁极方向:单向脉冲激活磁场,反向脉冲则完全关闭,其最大优势在于断电后仍能保持当前磁状态,仅在切换时消耗电能。系统可灵活产生吸力(闭合固定)、斥力(弹开屏幕)或零磁场(使用中防干扰)三种模式。

专利示意图显示,EPM 阵列可内置于笔记本底座,与屏幕盖板中的固定磁体对应。通过分段控制 EPMs,能实现局部精准磁力调节。例如合盖时激活全部 EPMs 产生均匀吸力;开盖时关闭所有磁场;快速启动场景下,亦可利用斥力实现屏幕“一键弹开”。该设计同时解决了结构强度与电磁兼容性问题。

在列出的三位发明人中,Jean-Marc Gery 的身份尤为特殊。其作为磁性技术公司 HIMARC Simulations 的所有者,暗示苹果可能通过专利收购或技术合作引入该关键技术。

另两位苹果工程师 John DiFonzo(产品设计经理)和 Makihata Mitsutoshi(生物机电专家)则曾参与量子计算、可穿戴传感器等项目,显示该专利的跨学科特性。

还没有评论,来说两句吧...